To rozwiązanie Porsche ma zwiększyć bezpieczeństwo kabrioletów

Porsche dostrzega potrzebę zwiększenia bezpieczeństwa w samochodach z otwartym dachem, dlatego opatentowało rozwiązanie, które zastępuje częściowo kurtynowe poduszki powietrzne.

Obraz
Marcin Łobodziński

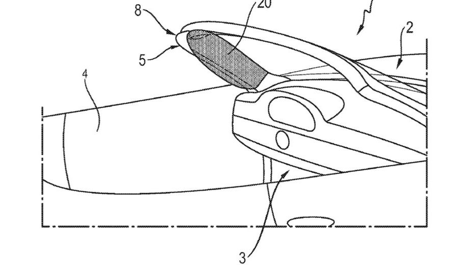
Nieduża poduszka umieszczona w słupku A, czyli jedynym, jaki ma zwykle samochód typu kabriolet lub roadster, ma pełnić niektóre funkcje tradycyjnej kurtyny powietrznej. Co prawda nie będzie tak skutecznie chroniła głów pasażerów przy uderzeniu bocznym, ale gdy auto uderza w przeszkodę przodem i jedną stroną jak w crasch testach, wówczas ciało kierowcy przesuwa się zwykle w kierunku słupka A.

W tradycyjnym samochodzie z zamkniętym nadwoziem przed obrażeniami głowy chroni rozciągająca się na dużą szerokość poduszka kurtynowa. W kabrioletach nie ma takiego zabezpieczenia. Jedynie bardziej rozbudowane poduszki boczne umieszczone w fotelach zabezpieczają głowę przy uderzeniu bocznym. Mają jednak pewne ograniczenie, czyli powierzchnię. Jest to jeden z powodów nie przyznania nigdy najwyżej oceny w testach bezpieczeństwa Euro NCAP autu typu kabriolet lub roadster.

Może się to zmienić w momencie, gdy wyposażenie Porsche Boxstera lub 911 Cabriolet obejmie wspomniany patent. W tym momencie trudno wymyślić lepsze rozwiązanie, ponieważ konstrukcja kabrioletu ma duże ograniczenia techniczne i nie da się ich wyeliminować. Porsche może w ten sposób zyskać pięć gwiazdek w testach Euro NCAP, choć sam udział w takich próbach może mieć jedynie charakter kampanii reklamowej. Do tej pory w historii organizacji tylko jedno Porsche pojawiło się na badaniu i był to SUV Macan.

Źródło artykułu: WP Autokult
Wybrane dla Ciebie
Najbardziej niezawodne i najgorsze SUV-y. Ranking "What Car?"
Najbardziej niezawodne i najgorsze SUV-y. Ranking "What Car?"
Konflikt z Iranem może wpłynąć na branżę motoryzacyjną - analitycy ostrzegają
Konflikt z Iranem może wpłynąć na branżę motoryzacyjną - analitycy ostrzegają
7-osobowa Tesla Model Y wjeżdża do Polski. Wiemy, ile kosztuje
7-osobowa Tesla Model Y wjeżdża do Polski. Wiemy, ile kosztuje
Licznik pokazuje więcej niż GPS. Które urządzenie ma racje?
Licznik pokazuje więcej niż GPS. Które urządzenie ma racje?
Zmiana limitu na autostradach. Minister powiedział, co się stanie
Zmiana limitu na autostradach. Minister powiedział, co się stanie
100 nowych autobusów dla Wrocławia. To nowoczesny sprzęt
100 nowych autobusów dla Wrocławia. To nowoczesny sprzęt
Land Rover pracuje nad małym Defenderem. Ma być konkurentem dla Mercedesa
Land Rover pracuje nad małym Defenderem. Ma być konkurentem dla Mercedesa
Niemiecka fabryka Tesli z problemami. A Musk znów obiecuje
Niemiecka fabryka Tesli z problemami. A Musk znów obiecuje
Firma przynosi straty, a prezes zarabia krocie. Padła kwota
Firma przynosi straty, a prezes zarabia krocie. Padła kwota
Xiaomi Vision Gran Turismo - zaprojektowany przez wiatr
Xiaomi Vision Gran Turismo - zaprojektowany przez wiatr
Ceny ropy rosną. Jak będzie z paliwami?
Ceny ropy rosną. Jak będzie z paliwami?
Polacy kupili 1726 aut w ciemno. Toyota wprowadza nową wersję
Polacy kupili 1726 aut w ciemno. Toyota wprowadza nową wersję
ZATRZYMAJ SIĘ NA CHWILĘ… TE ARTYKUŁY WARTO PRZECZYTAĆ 👀