Dwusuwowy diesel zasilany benzyną. Tylko jedna marka mogła to wymyślić

Kiedy wszyscy idą w hybrydy i elektryki, Mazda stawia na zupełnie inne rozwiązania – silniki benzynowe z zapłonem samoczynnym czy sześciocylindrowe, rzędowe jednostki. Teraz okazało się, że opracowano też nietypowego, dwusuwowego diesla.

Zdjęcie ilustracyjne do artykułu
Źródło zdjęć: © Szkice z patentu Mazdy
Mateusz Lubczański

Połączenie jest nietypowe, bo dwusuwowe silniki dostarczają stosunkowo dużej mocy z małego urządzenia. Nie ma tu klasycznych zaworów, smarowanie odbywa się przez mieszankę paliwowo-olejową, a cała budowa pozwala wykorzystać takie jednostki nie tylko w kosiarkach, ale i np. modelach samolotów. Wada? Jak zwykle – duże spalanie oleju sprawia, że nie są zbyt ekologiczne.

Zdjęcie ilustracyjne do artykułu
© Szkice z patentu Mazdy

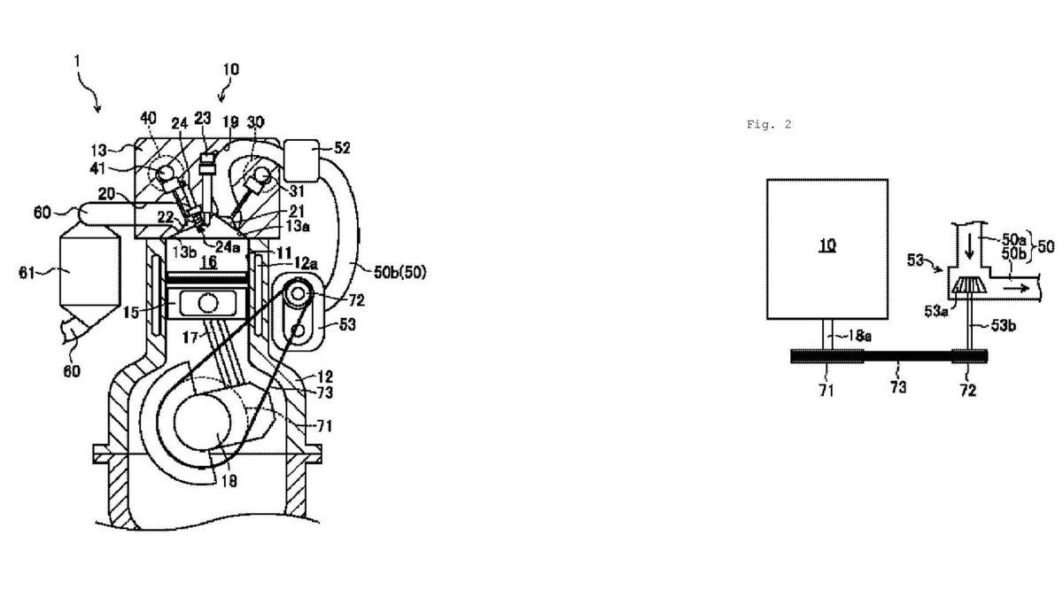
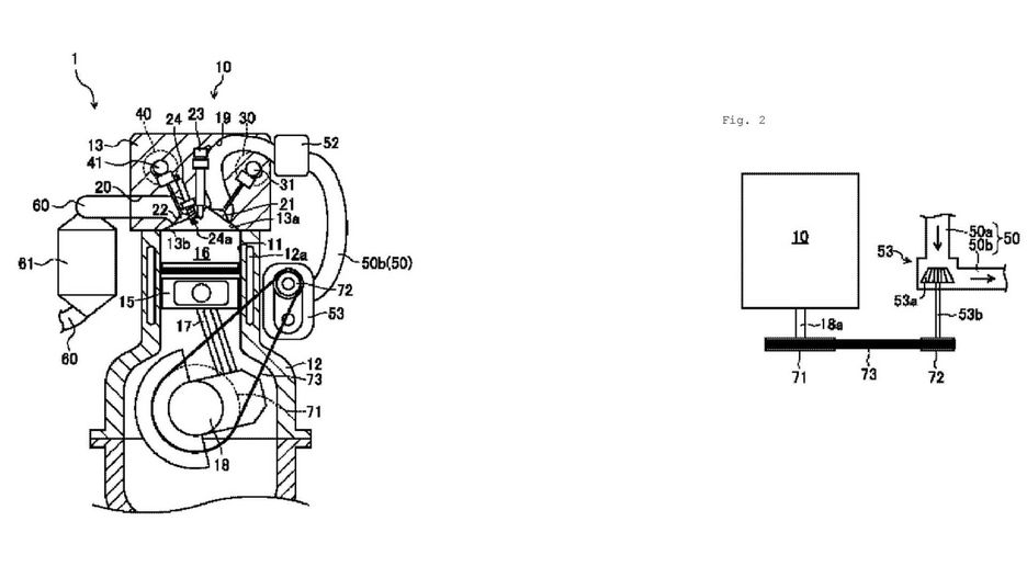
No to teraz trzymajcie się – inżynierowie Mazdy postanowili połączyć pracę dwusuwa (suwy sprężania i suw pracy) z mechaniką powszechnie stosowanych silników czterosuwowych. Mamy więc – chociażby – klasyczne zawory.

Nie jest to pierwsza marka która podjęła się takiego zadania. Ford miał na początku lat 90. XX wieku prototypowe pojazdy z australijskimi silnikami firmy Orbital. Ekipa eksperymentalnych jednostek napędowych Chryslera też miała kilka pomysłów w tej kwestii – i nawet z wałkiem wyrównoważającym wszystko się mniej więcej spinało.

Dwusuwowy charakter uzyskano dzięki odpowiedniemu wysterowaniu zaworów, ale Mazda znów wychodzi na wyższy poziom. Przy niskim obciążeniu jednostka działa jak diesel – mieszanka paliwa z powietrzem samoczynnie ulega detonacji. Jest uboga, a to dzięki pompowaniu powietrza przez mały kompresor. Z kolei pod obciążeniem do gry wchodzi klasyczna świeca z iskrą. Takie rozwiązanie jest już dostępne w seryjnie produkowanych samochodach, a moje wrażenia z jazdy mazdą z takimi silnikiem znajdziecie poniżej.

Sprężarka mechaniczna ma też kolejne zadanie. Biorąc pod uwagę, że długo otwarty zawór dolotowy mógłby spowodować cofnięcie się spalin do kolektora dolotowego, kompresor skutecznie wydmuchuje je dalej. Silnik dalej jednak pozostaje spalinowy, więc trzeba liczyć się z emisjami szkodliwych gazów.

Taka konfiguracja przedstawiona jest na razie na jednym cylindrze, ale nie ma przeszkód by połączyć je w porządny, duży silnik. Niestety, na razie nie wiadomo do czego jednostka miałaby być wykorzystywana – być może będzie generatorem prądu, być może pozostanie jedynie pomysłem z patentem.

Źródło artykułu: WP Autokult
Wybrane dla Ciebie
Auto wjechało w posła Litewkę. Potrzebne są duże zmiany
Auto wjechało w posła Litewkę. Potrzebne są duże zmiany
Poznańsko-chiński Motor Show. Ile nowych marek pomieści jeszcze rynek?
Poznańsko-chiński Motor Show. Ile nowych marek pomieści jeszcze rynek?
Nowa Mazda pokazana na Poznań Motor Show. 26 cali ekranu, 23 głośniki
Nowa Mazda pokazana na Poznań Motor Show. 26 cali ekranu, 23 głośniki
Wojsko wyjeżdża na drogi. Trasy przejazdu poznasz po znakach
Wojsko wyjeżdża na drogi. Trasy przejazdu poznasz po znakach
Tesla wróciła na szczyt, Chińczycy coraz wyżej - marzec pełen niespodzianek w Europie
Tesla wróciła na szczyt, Chińczycy coraz wyżej - marzec pełen niespodzianek w Europie
Zmiany od czerwca. Będzie nowa kara dla rowerzystów
Zmiany od czerwca. Będzie nowa kara dla rowerzystów
Salon Lamborghini Katowice otwarty. Drugi diler w Polsce wystartował z zestawem marzeń
Salon Lamborghini Katowice otwarty. Drugi diler w Polsce wystartował z zestawem marzeń
Rząd wykluczył jedno paliwo. Specjalnie. Cena nie spadła
Rząd wykluczył jedno paliwo. Specjalnie. Cena nie spadła
Zamówienie napisane pod konkretne auto? Szpital w Jeleniej Górze szuka nowego SUV-a
Zamówienie napisane pod konkretne auto? Szpital w Jeleniej Górze szuka nowego SUV-a
VW ID. Buzz po liftingu: więcej mocy, prawdziwe przyciski i nowe funkcje
VW ID. Buzz po liftingu: więcej mocy, prawdziwe przyciski i nowe funkcje
Nadjeżdża nowy Smart. Będzie jednym z najmniejszych elektryków
Nadjeżdża nowy Smart. Będzie jednym z najmniejszych elektryków
Bovensiepen Zagato zostało wycenione. Jest drogo. Bardzo drogo
Bovensiepen Zagato zostało wycenione. Jest drogo. Bardzo drogo
ZANIM WYJDZIESZ... NIE PRZEGAP TEGO, CO CZYTAJĄ INNI! 👇